安全矩阵

 找回密码
 立即注册
搜索
查看: 3667|回复: 0

记对BC站点的一次信息收集

[复制链接]

855

主题

862

帖子

2940

积分

金牌会员

Rank: 6Rank: 6

积分
2940
发表于 2021-12-12 14:18:58 | 显示全部楼层 |阅读模式
原文链接:记对BC站点的一次信息收集

1.ip信息及域名信息收集
得到一个ip,首先对ip来搞一手

nmap -sV 185.2*.2**.1**  (探测端口服务版本)

但就是这命令真的慢,想快速得到可以使用-sS  (半开扫描)
与此同时,我们去fofa,shodan,zoomeye去看看这个ip



基本都是一致的,都将端口信息,服务等都列了出来,钟馗之眼顺便将服务器的相关漏洞都列了出来,比较贴心,这些信息我们就可以收集下来了,后面肯定用的到。
其次,我们再对ip反查域名

我们查到了有十个域名解析到了他的ip,不过只有一个标题令人心动的网站可以正常打开
同时我们再去

ipwhois查询:(http://ipwhois.cnnic.net.cn)DNS查询:(http://ipwhois.cnnic.net.cn)解析查一手,可惜没有,不然可以得到很多有用信息。

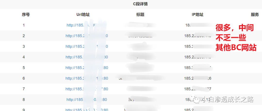
最后,我们再对ip查c段,旁站

至此,我们得到了,这个ip所对应的服务器端口的信息部分版本信息C段旁站及一个域名
​​
2.网站信息收集
根据上面的端口扫描及登录,发现80端口是用户登录页面,8080端口是管理员登录页面。


弱口令,xss,sql,逻辑等漏洞已经可以从这里开始了
前台既然可以注册,那我们就注册一个号,进去找找好东西,把burp挂着,进去之后一通点,哪里能点就点哪里,burp在背后为我们记录着一切(目录信息及涉及到的url信息)。(将这些信息记录下来,后期渗透有大用)。

此外,我们再用工具扫描一下,看看会不会有新的发现。
可惜目录扫描,备份扫描无结果,敏感信息也没有扫描到。


(虽然这个站没有,但是在其他渗透活动中,一定要扫的)
继续CMS识别及浏览器插件工具识别

我们再次得到了一些信息,框架,使用的库等等,都是渗透点,暂时记录,后期正式开工用着。
注意:网站的logo也可以作为一个渗透点,这个网站的logo是一个叫NG南港的图片,但我没有收集到有用信息,在其他安全测试中,我们一定要去收集logo信息,说不定会挖到好东西



​​
3.内部系统探究收集
对内部功能简单测试,可以得到很多渗透点。



还有一些游戏的图片就不放出来了,这些地方都可以记录下来作为渗透点。
4.源码查找

首先在源码中发现了一行注析

搜索发现ColorUI是一个css库。
其次对网站关键信息进行Google,github上搜索,没有找到相似源码,正规渠道我们搞不到就从其他渠道搞



菜鸟源码:https://www.cniao8.com/源码屋:https://www.ymwu.com/门童网:mentongwang.com吾索源码:https://www.wusuo88.com/这些网站其实都有一些灰色的源码在上面,我们可以根据关键词找,有很大几率找到,咸鱼也有,可以搜搜
还有可以去”类似窝点“的论坛呀,qq群这些,混入其中,得到源码或者其他信息。
这里我就不找了,因为太多了,源码思路大致就这么多。
5.同ip的网站

还记得上面反查到的域名吗?标题很吸引人,不过测试了半天,貌似是夸克浏览器的推销广告,无卵用,不然又可以从这个地方开始,下载app搞app渗透,反编译,再域名开始,子域名,目录等等等开始搞起来了。

6.总结

回复

使用道具 举报

您需要登录后才可以回帖 登录 | 立即注册

本版积分规则

小黑屋|安全矩阵

GMT+8, 2025-11-15 20:42 , Processed in 0.015193 second(s), 18 queries .

Powered by Discuz! X4.0

Copyright © 2001-2020, Tencent Cloud.

快速回复 返回顶部 返回列表